Запасные части
Подъёмное оборудование
Шиномонтажное оборудование
Гаражное оборудование
Гидравлическое оборудование
Диагностическое оборудование
Смазочно-заправочное оборудование
Компрессорное оборудование
Оборудование для кузовного ремонта
Покрасочное оборудование
Пневматический инструмент
Металлическая мебель
Моющее оборудование
Развал-схождение
Специальный инструмент
Ручной инструмент
АвтоХимия
Запасные части Смотреть все >
Шиномонтажное оборудование Смотреть все >
Гаражное оборудование Смотреть все >
Специальный инструмент Смотреть все >
Ручной инструмент Смотреть все >
Оборудование и запчасти Б/У Смотреть все >
График работы: пн-пт с 10:00 до 18:00, сб-вс: по согласованию
Найти
Корзина
0
8 926 172-16-47
Обратная связь
Поиск
Поделиться
Корзина
0
Главная / Запчасти для шиномонтажа / Запчасти для: Шиномонтажные станки и стенды для грузовых авто SIVIK (Сивик) / Запчасти для: Шиномонтажный станок ГШС-516K со стационарным пультом управления (деталировка)

Запчасти для: Шиномонтажный станок ГШС-516K со стационарным пультом управления (деталировка)

картинка pl_all
картинка 2110
картинка 2111
картинка 2112
картинка 2113
картинка 2114
картинка 2115
картинка 2116
картинка 2117
картинка 2118
картинка 2119
картинка 2120
картинка 2121
картинка 2122
картинка 2123
картинка 2124
картинка 2125
Картинка GENERAL ASSEMBLY
Вид 1 из 16
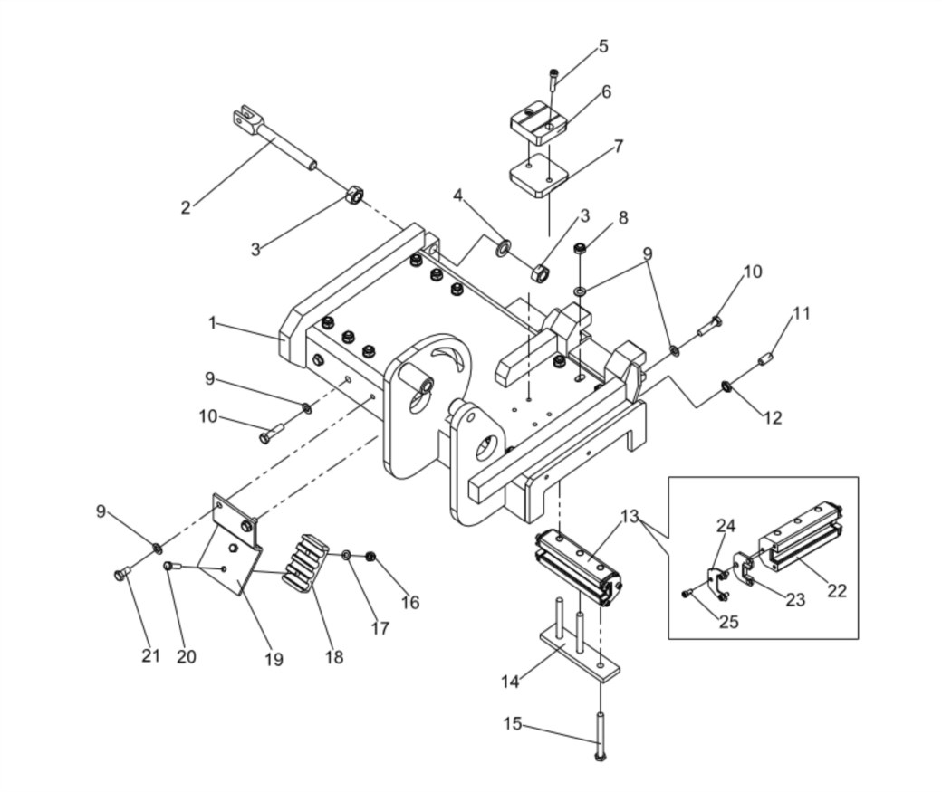
Картинка  FRAME
Вид 2 из 16
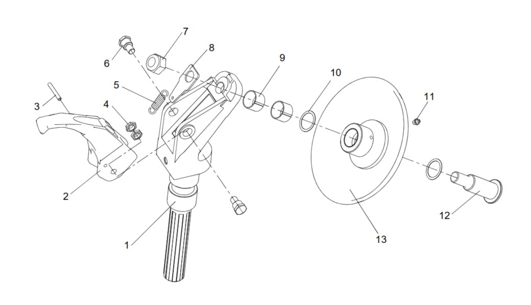
Картинка SELF-CENTERING CHUCK
Вид 3 из 16
Картинка CHUCK
Вид 4 из 16
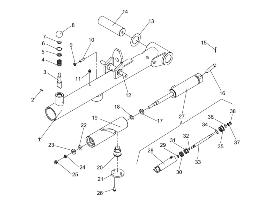
Картинка ARM SUPPORT
Вид 5 из 16
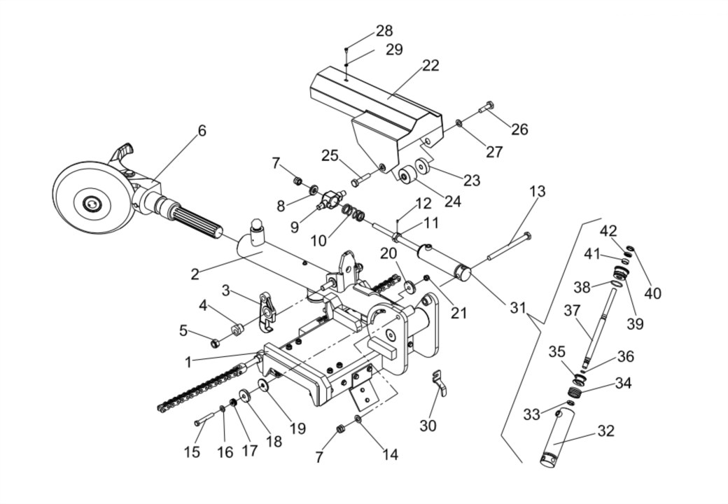
Картинка CARRIAGE UNIT
Вид 6 из 16
Картинка  CARRIAGE
Вид 7 из 16
Картинка TOOL HOLDER ARM
Вид 8 из 16
Картинка DOUBLE TOOL
Вид 9 из 16
Картинка ROTATION CONTROL UNIT
Вид 10 из 16
Картинка MOBILE CONTROL UNIT
Вид 11 из 16
Картинка  ELECTRIC CABLE
Вид 12 из 16
Картинка ELECTRIC UNIT
Вид 13 из 16
Картинка HYDRAULIC LINE
Вид 14 из 16
Картинка HYDRAULIC POWER UNIT
Вид 15 из 16
Картинка ACCESSORIES
Вид 16 из 16
Запчасти для: Шиномонтажный станок ГШС-516K со стационарным пультом управления (деталировка)
Бренд:SIVIK (Сивик)
SIVIK (Сивик) иконка

Подробная информация о конструкции на Шиномонтажный станок ГШС-516K со стационарным пультом управления (деталировка), представленная в деталировке, поможет быстро и правильно подобрать запчасти для ремонта или переборки Вашего оборудования своими руками. Если у Вас всё равно останутся вопросы, то наши квалифицированные специалисты готовы помочь Вам с подбором запчастей.

...