Запасные части
Подъёмное оборудование
Шиномонтажное оборудование
Гаражное оборудование
Гидравлическое оборудование
Диагностическое оборудование
Смазочно-заправочное оборудование
Компрессорное оборудование
Оборудование для кузовного ремонта
Покрасочное оборудование
Пневматический инструмент
Металлическая мебель
Моющее оборудование
Развал-схождение
Специальный инструмент
Ручной инструмент
АвтоХимия
Запасные части Смотреть все >
Шиномонтажное оборудование Смотреть все >
Гаражное оборудование Смотреть все >
Специальный инструмент Смотреть все >
Ручной инструмент Смотреть все >
Оборудование и запчасти Б/У Смотреть все >
График работы: пн-пт с 10:00 до 18:00, сб-вс: по согласованию
Найти
Корзина
0
8 926 172-16-47
Обратная связь
Поиск
Поделиться
Корзина
0
Главная / Запчасти для автомобильных подъёмников / Запчасти для: Автомобильные подъёмники SIVIK (Сивик) / Запчасти для: Подъемник 2-х стоечный гидравлический ПГА-3500-Е (01-07-2021_01-10-2021) (деталировка)

Запчасти для: Подъемник 2-х стоечный гидравлический ПГА-3500-Е (01-07-2021_01-10-2021) (деталировка)

картинка pl_all
картинка 2262
картинка 2263
картинка 2264
картинка 2265
картинка 2266
картинка 2267
картинка 2268
картинка 2269
картинка 2270
Картинка Подъемник 2-х стоечный электрогидравлический
Вид 1 из 9
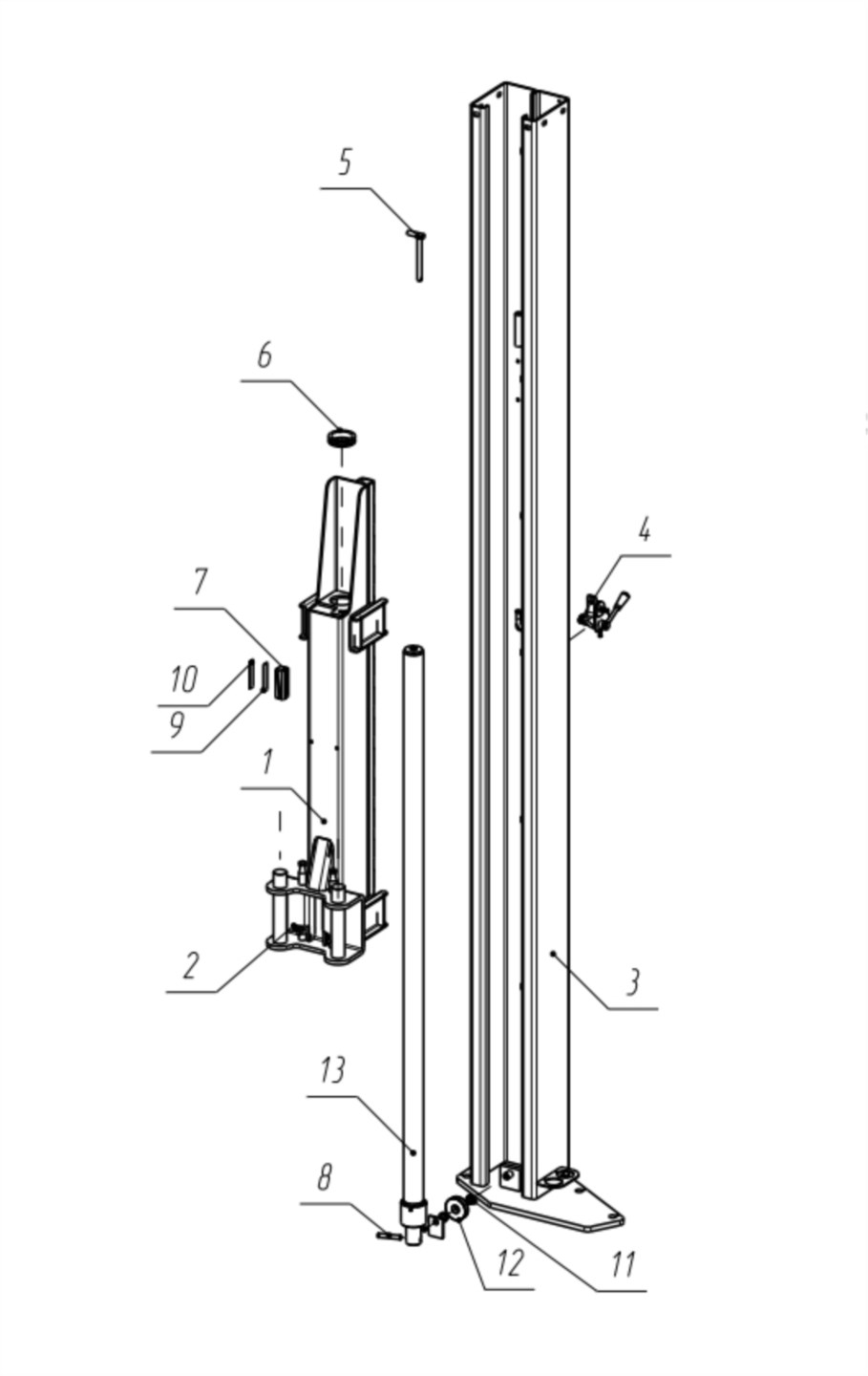
Картинка Колонна правая
Вид 2 из 9
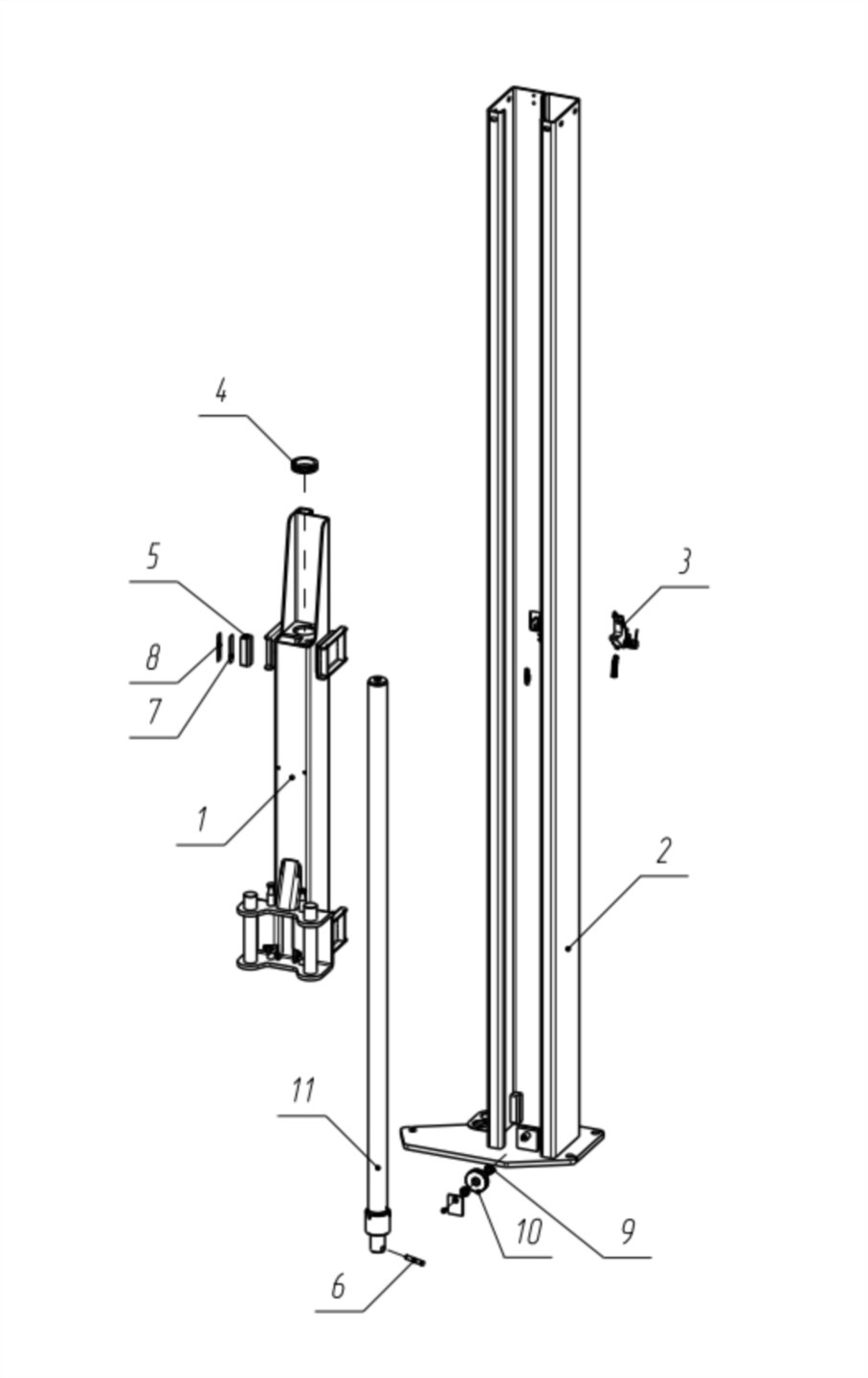
Картинка Колонна левая
Вид 3 из 9
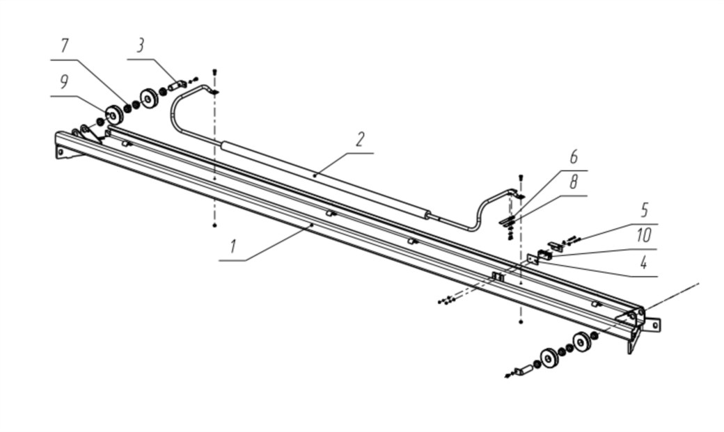
Картинка Перекладина
Вид 4 из 9
Картинка Подхват длинный
Вид 5 из 9
Картинка Подхват короткий
Вид 6 из 9
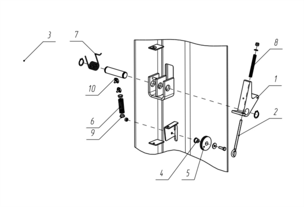
Картинка Стопор правый
Вид 7 из 9
Картинка Стопор левый
Вид 8 из 9
Картинка Установка электрооборудовани
Вид 9 из 9
Запчасти для: Подъемник 2-х стоечный гидравлический ПГА-3500-Е (01-07-2021_01-10-2021) (деталировка)
Бренд:SIVIK (Сивик)
SIVIK (Сивик) иконка

Подробная информация о конструкции на Подъемник 2-х стоечный гидравлический ПГА-3500-Е (01-07-2021_01-10-2021) (деталировка), представленная в деталировке, поможет быстро и правильно подобрать запчасти для ремонта или переборки Вашего оборудования своими руками. Если у Вас всё равно останутся вопросы, то наши квалифицированные специалисты готовы помочь Вам с подбором запчастей.

...